Cliquer ici pour visiter Utsource
Modèle
acheter(0)
Demandes d'offres (0)
Dear customers, due to the implementation of the GDPR policy in Europe, UTSOURCE has also made adjustment accordingly to meet the policy requirements. Please read the new privacy policy carefully and this window will no longer pop up after you accept it.
Delivery Address
+ Ajouter l'adresse
Nouvelle adresse de transport
* Veuillez remplir correctement le numéro de téléphone portable pour vous assurer que vous pouvez recevoir les informations de suivi à temps.
Code pays
Coilcraft 0402DC-R10XGRW
DreamLNK T18-433M
Uniroyal Elec 1210W2J0364T5E(50pcs)
Chilisin Elec LVS505020-5R6M-N(5pcs)
IRG4BH20K-L
Guangdong Fenghua Advanced Tech 0805F333M500NT
YAGEO AC1206FR-0725K5L(50pcs)
PANASONIC ERJ3EKF1272V(50pcs)
XIAMEN FARATRONIC C42Q2224K6SC000(5pcs)
Guangdong Fenghua Advanced Tech RS-03K34R0FT(100pcs)
Walsin Tech Corp WR04W5624FTL(100pcs)
TAITEC HPC8040NF-2R2YTH(5pcs)
KOA Speer Elec RK73H2ATTD4530F(50pcs)
DS1973-F5
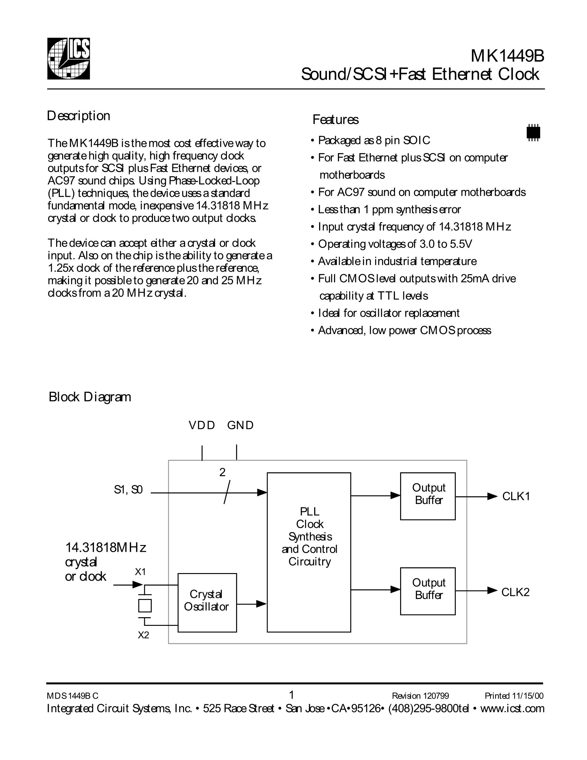
MK1449S
XKB Enterprise X2026WR-2*04D-46SN(5pcs)
Changjiang Connectors A1502HA-2P(20pcs)
ResistorToday PTFR0603B130RP9(5pcs)