Utsource sitesine girmek için Buraya Tıklayın
Kategori
Satın Al(0)
Sorgulama(0)
Dear customers, due to the implementation of the GDPR policy in Europe, UTSOURCE has also made adjustment accordingly to meet the policy requirements. Please read the new privacy policy carefully and this window will no longer pop up after you accept it.
Delivery Address
+ Adres Ekle
Yeni Gönderi Adresi
* Takip bilgilerini zamanında alabileceğinizden emin olmak için lütfen cep telefonu numarasını doğru bir şekilde doldurun.
Ülke Kodu
Cybermax CMCC1608C82NJSP(50pcs)
SRD(Shenzhen Sincerity Tech) C82683J6E2RLC
XFCN M3960R-03N2P(10pcs)
FJL6920TU
Rubycon 16YXF1000MFFCT810X20
Guangdong Fenghua Advanced Tech RS-05K5491FT(50pcs)
Walsin Tech Corp WR04X1913FTL(100pcs)
Guangdong Fenghua Advanced Tech RC-02U5R23FT(100pcs)
Nichicon UVK2A101MPD
TE Connectivity 350735-1
YAGEO CC1206KRX7RABB152(20pcs)
RALEC RTT021654FTH(100pcs)
YJYCOIN YNR4020-3R3M(10pcs)
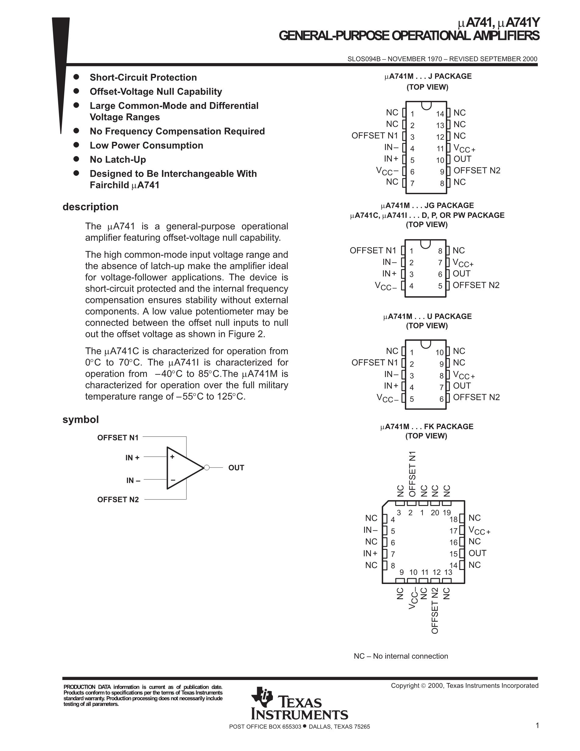
UA741MJG
T1014NXE7PQA
ResistorToday AECR0603F180KK9(50pcs)
ResistorToday EWWR0008J470RT9
Cybermax CMCC1608C15NJSP(50pcs)